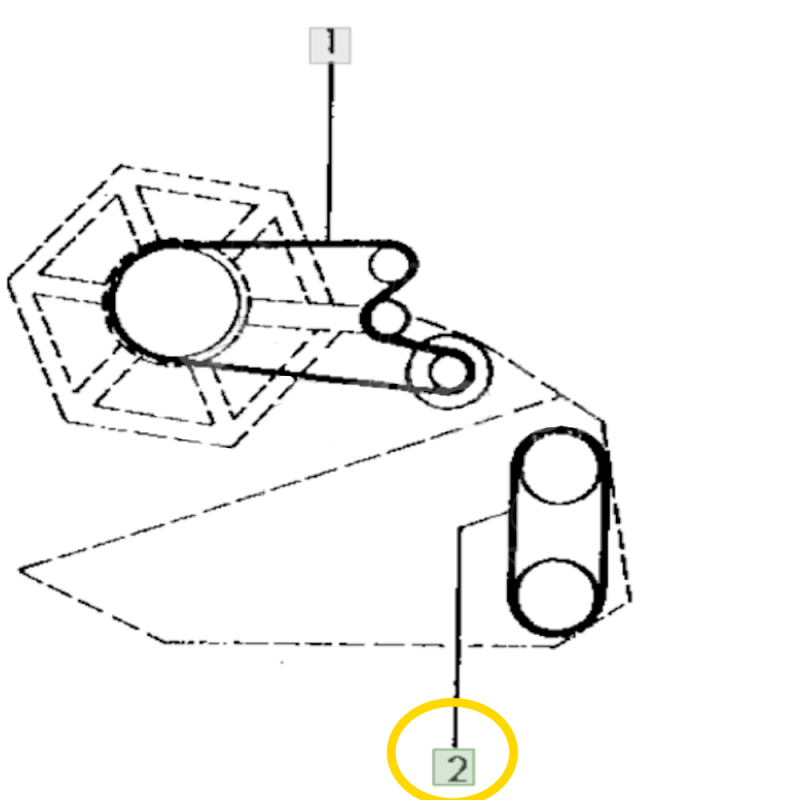
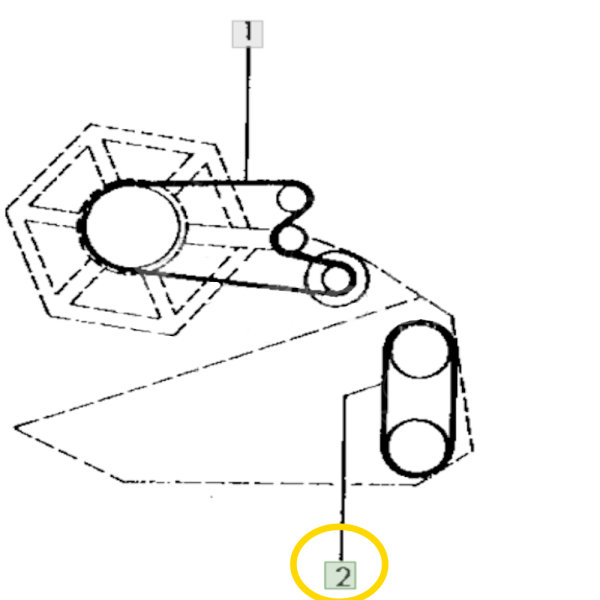
PAS1053- 0210129 Pas klinowy napędu motowideł Gates

238,00 zł
Brutto
Ilość

John Deere
925, 935, 945, 952, 955, 985

32x1480mm

Numery porównawcze
AP1001407 Z30692 148.032X 591869R1