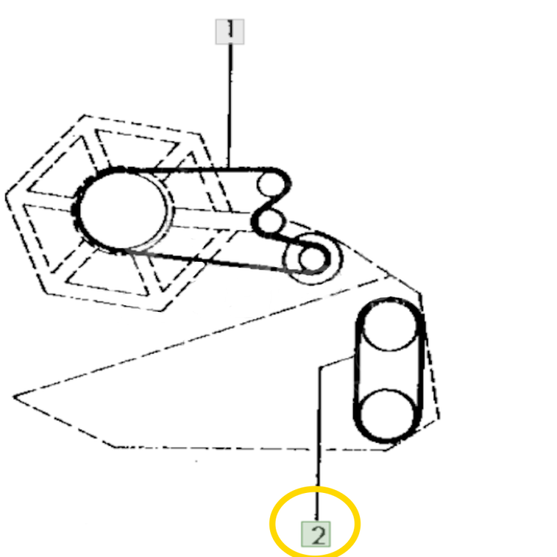
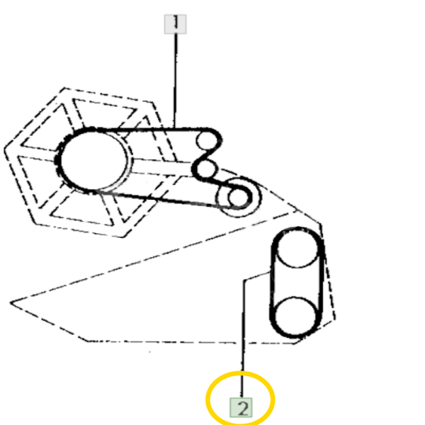
PAS1053- 0210129 Gates Motorradriemen

238,00 zł
Bruttopreis
Menge

John Deere 925, 935, 945, 952, 955, 985

32 x 1480 mm

Numery porównawcze
AP1001407 Z30692 148.032X 591869R1