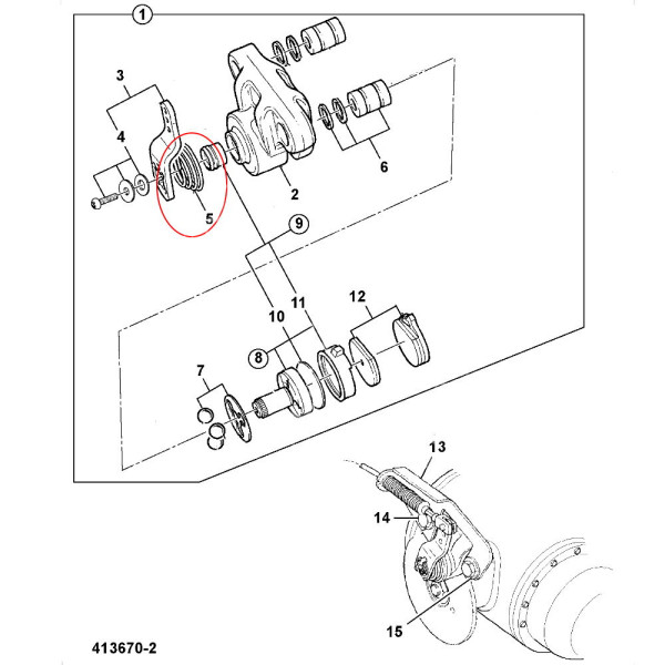
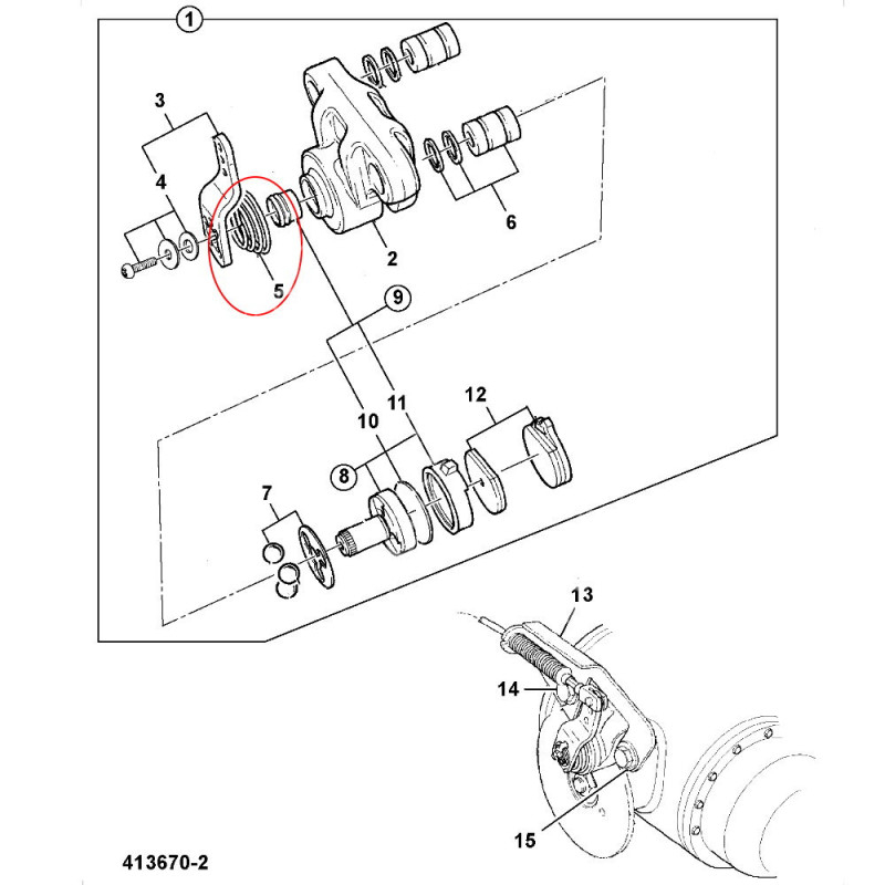
HAM1473 Sprężyna zacisku hamulca ręcznego JCB

59,00 zł
Brutto
Ilość

JCB:

515-40, 520-40, 526LE, 526S LE, 528-70, 528S, 530 FS PLUS, 530LE, 530 SUPER AG, 530, 530-110 LE, 530S XL, 530S, 532, 532LE, 533-105, 535 FS SUPER, 535-125, 535-140, 535-60, 535-95, 537, 537 LE, 540, 540 FS PLUS, 540 LE, 540 SUPER AG, 540-140, 540-170, 540S

Stosowana do zacisku 15/M04039

Numery porównawcze
15/915203

Zobacz także