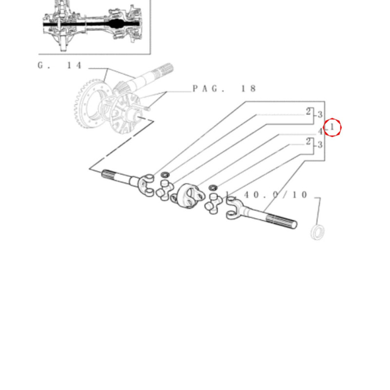
PON3665 Półoś New Holland

1 149,00 zł
Brutto
Ilość

Pozycja numer 1 na rysunku.


New Holland: 8360, 8560, TM120, TM130, TM140, TM150, TM155, TM165, TM175, TM190


Numery porównawcze
5174475