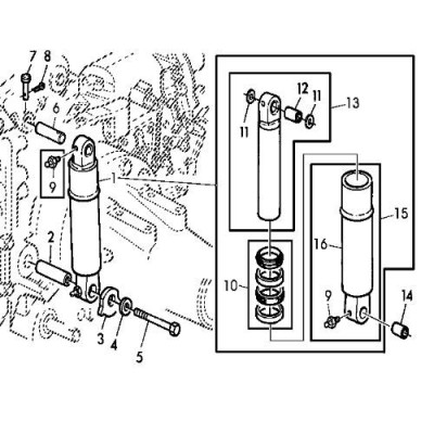
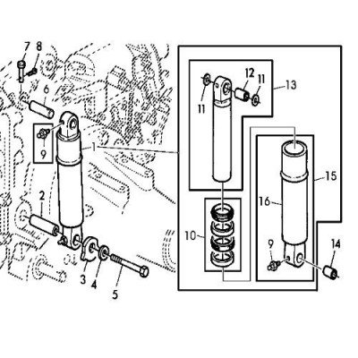
Podnośnik, ramiona

Jest 224 produktów.

Pokazano 73-108 z 224 pozycji